ЭКСПРЕСС ВОПРОС Как работает стойка J8A

timob256

МЕСТНЫЙ
ПРОВЕРЕННЫЙ
Регистрация
09.12.2023
Сообщения
11
Реакции
1
Баллы
23
Как работает стойка J8AВ общем есть стойка может выдвигаться на 70 мм. вниз и на 70 мм. В верх.

Управляется двумя проводами, без шагового двигателя , хочу узнать как она работает .

Аналоговое изделие.

Как работает стойка J8A

Вот моя псевдосхемма.

Как работает стойка J8A



Screenshot_20260415-090747.jpg
 
Как работает стойка J8AВ общем есть стойка может выдвигаться на 70 мм. вниз и на 70 мм. В верх.

Управляется двумя проводами, без шагового двигателя , хочу узнать как она работает .

Аналоговое изделие.

Как работает стойка J8A

Вот моя псевдосхемма.

Как работает стойка J8A



Screenshot_20260415-090747.jpg
А точно проводами управляется?
 
  • ХаХа
Реакции: taif
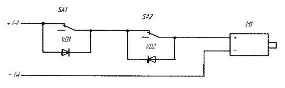
Обычный линейный актуатор с ручной сменой полярности - какую полярность подадите, туда и поедет, пока не упрётся в концевик.
LAM3_shema_1.gif

Для смены полярности можно использовать транзисторный Н-мост или тумблер на две группы переключающих контактов, со средним положением.

IMG_20260416_180414.jpg
 
Сверху Снизу